Pentaflex ABS V-S työsaumaverkkoelementti

440-Pentaflex-ABS-V-S

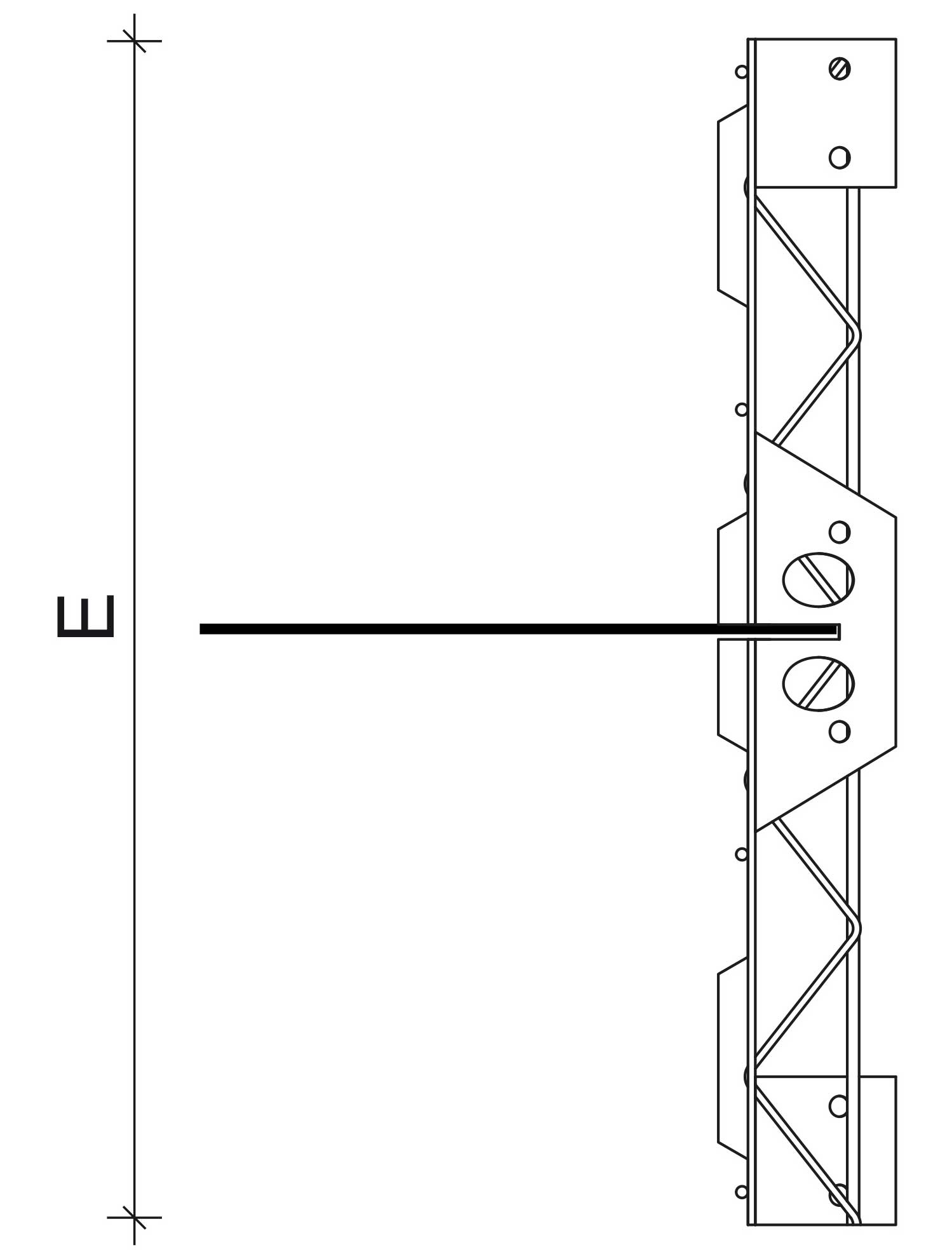
Muotoon taivutettu Pentaflex® ABS V-S työsaumaverkkoelementti on Pentaflex® KB -tiivisteen ja työsaumaverkon yhdistelmä. ABS V-S on on vaarnaprofiilimalli ja se on tarkoitettu laatan tai seinän paksujen rakenteiden (≥ 600 mm) työsaumoihin. Vakiopituus 2,4 m.

Pentaflex® ABS

Kysy tuotteesta asiantuntijoiltamme

Tuotekuvaukset

Tuotekuvaus

Pentaflex® KB -työsaumapelti sijoittuu työsaumaverkko ABS V-S:n avulla keskeisesti työsaumaan nähden. KB-työsaumapelti on erikoispinnoitettu sinkitty pelti, jonka päällä on ennen valua poistettava suojamuovi.

ABS V-S:n työsaumaverkkoelementissä on koko korkeudella toistuva useampi vaarnamuoto. Verkkoelementissä on kiinnityspisteet tukiteräksille raudoitukseen tuentaa varten. Tukiteräkset tilattavissa erikseen.

Betonin rakennepaksuuteen soveltuva asennusmitta E on määriteltävä tilattaessa. Mitta riippuu betonipeitteen paksuudesta ja raudoituksesta. 

Edut
  • Vaarnattu työsauman muoto: Parempi sauman leikkauskestävyys kuin vastaavilla karhennetuilla malleilla
  • Jämerä ristikkorakenne kestää paksumman laatan valupaineen
  • ETA-hyväksytty ja CE-merkitty tuote
  • Vesitiiveyden suunnitteluarvo 2 baria
Käyttöalueet PENTAFLEX®ABS -työsaumaverkkoelementtejä voidaan käyttää vedenpaineella kuormitettujen teräsbetonirakenteiden (laatat, seinät) työsaumoissa, erityisesti kun liitokselta vaaditaan korkeampaa leikkauskestävyyttä.
Lisätietoa

Verkkoelementissä on kiinnityspisteet erikseen tilattaville tukiteräksille raudoitukseen tuentaa varten.

Sauman leikkauskestävyyden mitoitus rakennesuunnittelijalta EN 1992-1-1 mukaisesti.

Tekniset tiedot

Materiaali Muottielementti DC04 matalahiilinen kylmävalssattu teräs, vahvistettu ristikkopalkki harjateräs B500B
Vedenpainekestävyys [bar] 2
CE-merkintä Kyllä
Pyydä tarjous tai kysy lisätietoa

Tiedostot ja linkit

Suunnittelijalle

Tekla Warehouse

Esite Pentaflex_tekniset_tiedot_esite_FI.pdf
ETA-hyväksyntä Pentaflex_ETA_EN.pdf
Suoritustasoilmoitus DOP Pentaflex_DoP_FI.pdf
DGNB-arviointi ja ympäristöominaisuudet Pentaflex_DGNB_EN.pdf
LEED-arviointi ja ympäristöominaisuudet Pentaflex_LEED_EN.pdf
Kemikaalikestävyys Pentaflex_kemikaalikestävyys_FI.pdf
Muu ohje Pentaflex_Grundwasserhygiene_DE.pdf